Product Model
vsnc-fc-m52-md-g14-fn-1a1+g

Key Features
- 1High Flow Rate: 1250 l/min standard nominal flow rate for efficient operation.
- 2Reliable Operation: Mechanical spring reset ensures safe switching to initial position in case of power failure.
- 3NAMUR Compliance: Conforms to VDI/VDE 3845 standard for NAMUR port pattern and mounting.
- 4Robust Construction: Soft sealing principle and durable housing made from wrought aluminum alloy.
- 5Versatile Mounting: Compatible with through-hole mounting and optional breather connection for flexible installation options.
Technical Specifications
Detailed engineering parameters based on manufacturer documentation
| Parameter | Value | Parameter | Value |
|---|---|---|---|
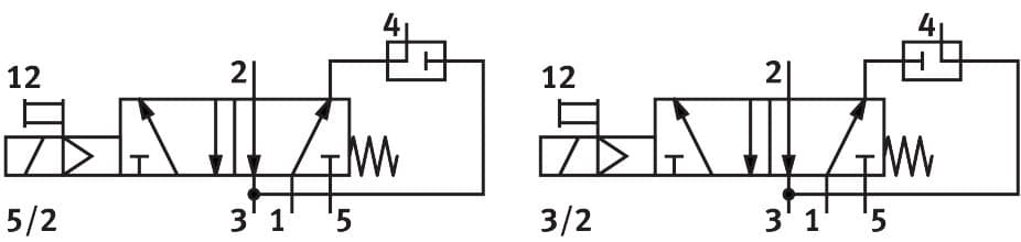
| Valve function | 5/2 or 3/2 switchable | Actuation type | Electrical |
| Width | 32mm | Standard nominal flow rate | 1250l/min |
| Pneumatic working port | NAMUR connection diagram | Operating voltage | 24V DC |
| Operating pressure | 2.5bar 8bar | Structural design | Piston gate valve |
| Reset method | Mechanical spring | Certificate issuing authority | DNVGL-TAA000011J |
| Degree of protection | IP65 IP67 With plug socket as per IEC 60529 | Exhaust air function | With flow control option |
| Sealing principle | Soft | Mounting position | Any |
| Conforms to standard | VDI/VDE 3845 (NAMUR) | Manual override | Detenting Non-detenting |
| Type of control | Pilot-controlled | Pilot air supply port | Internal |
| Flow direction | Non-reversible | Symbol | 00991831 |
| Lap | Overlap | Signal status display | With accessories |
| b-value | 0.4 | C value | 5.2l/sbar |
| Standard nominal flow rate, exhaust air return 4->3 | 110l/min | Switching time off | 92ms |
| On switching time | 35ms | Duty cycle | 100% |
| Coil characteristics | 24 V DC: 0.7 W | Permissible voltage fluctuations | +/- 10 % |
| Operating medium | Compressed air as per ISO 8573-1:2010 [7:4:4] | Information on operating and pilot media | Operation with oil lubrication possible (required for further use) |
| Corrosion resistance class (CRC) | 2 - Moderate corrosion stress | LABS (PWIS) conformity | VDMA24364-B2-L |
| Temperature of medium | -20°C 60°C | Ambient temperature | -20°C 60°C |
| Product weight | 415g | Electrical connection | Form A as per EN 175301-803 |
| Type of mounting | With through-hole | Venting hole connection | Not ducted |
| Pneumatic connection 1 | G1/4 | Pneumatic connection 2 | NAMUR connection diagram |
| Pneumatic connection 3 | G1/4 | Pneumatic connection 4 | NAMUR connection diagram |
| Pneumatic connection 5 | G1/4 | Note on materials | RoHS-compliant |
| Seals material | NBR | Housing material | Wrought aluminum alloy |
| Material of screws | Steel, galvanized | Manufacturer ID | 8078398 |
Specifications may be subject to change without notice
